DESCRIPTION
This receiver optical subassembly (ROSA) is designed for fiber optic transmission system up to 1.25 Gb/s including Gigabit Ethernet, Fiber Channel and SDH/SONET etc. It consists of a high-performance InGaAs/InP APD and a low-noise transimpedance preamplifier. The chips are hermetically sealed in a 5-pin TO-46 package.
FEATURES
- Data rate up to 1.25 Gb/s
- High performance InGaAs/InP APD
- High sensitivity
- 5-pin TO-46 with ball lens
APPLICATIONS
- SDH/SONET
- Gigabit Ethernet
- Fiber Channel
- Other long-haul transmission system up to 1.25 Gb/s
ABSOLUTE MAXIMUM RATINGS
| Parameter | Symbol | Rating | Unit |
| Supply voltage | Vcc | -0.5 to 6 | V |
| APD reverse voltage | Vr | 0 to Vbr |
V |
| APD reverse current | Ir | 2 | mA |
| Operating temperature | Tamb | -40 to +85 | °C |
| Storage temperature | Tstg | -40 to +100 | °C |
| Soldering temperature 2mm from the case for 10 seconds | Tsld | 260 | °C |
ELECTRICAL and OPTICAL CHARACTERISTICS
(Tc=25ºC unless otherwise specified)
| Parameter | Symbol | Min | Typ | Max | Unit | Conditions |
| APD responsivity | R | 0.8 | 0.9 | - | A/W |
λ = 1550nm, M=1 |
| APD breakdown voltage | Vbr | 35 |
45 | 55 | V | Id=10μA
|
| Temperature coefficient of Vbr | γ |
- | 0.09 | - | V/°C | --- |
| Optical sensitivity | - | – | -36.5 | -35 | dBm | λ=1550 nm 1.25 Gbps BER =10-10 PRBS 223-1 Ext. Ratio=13 dB V=Vop |
| Small signal bandwidth | fc | 800 |
1000 |
- | MHz | --- |
| Optical overload | - | -7 | - | - | dBm | 1.25 Gbps BER =10-10 PRBS 223-1 V=Vop |
| Equivalent input noise density | - | - | 6.6 | pA/Hz1/2 | --- |
|
| TIA transimpedance | Z | 2260 | 2800 |
3400 | Ω | Differential, measured with a 30 μAp-p input signal |
| Wavelength | λ | 1270 | - | 1650 |
nm |
|
| Supply voltage | Vcc | 3.0 | 3.3 | 5.5 | V |
|
| Supply current | Icc | 26 | 50 |
mA |
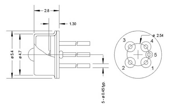
OUTLINE DRAWING (All dimensions in nm)
| Pin Connection | ||||
| 1 | 2 | 3 | 4 | 5 |
| Vout+ | Vcc | VAPD | Vout- |
GND (case) |


D-TECH PRODUCT LIST
Packaged Products
